Discover all the latest about our products, technology, and culture. Click any of the posts below to read more.
VIV Solutions® is excited to announce the availability of Henning Devices for VIV suppression. Henning Devices, also known as "Hennings",
Read More
VIV Solutions® is pleased to announce the creation of VortexVines™, the new generation of helical strakes. Traditional helical strakes for
Read More
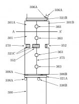
VIV Solutions® was recently awarded US Patent 10,865,910 titled “Coupled Fairing Systems” which incorporates much of the company’s “FlexLock” fairing
Read More
VIV Solutions® has recently completed an umbilical fairing project which included fairings with both rotational anti-fouling protection and external anti-fouling
Read More
VIV Solutions® is celebrating our 10th anniversary!! While we began formal operations in 2010, our team members have been busy testing
Read More
Join VIV Solutions® at the upcoming Subsea Tieback Forum. This exciting event will take place February 18-20 at the convention
Read More
VIV Solutions® congratulates its founder, Don Allen, who was recently awarded his 50th U.S. Patent. Dr. Allen who, along with
Read More
Pictured are (L-R): Don Allen, Steve Wong (representing Shell and Li Lee), J. Kim Vandiver, and Dean Henning VIV Solutions®
Read More








